一、Maxwell中的设置
1. 在Maxwell中建立模型,并进行求解,以圆柱形磁铁为例,磁铁尺寸为底面半径*高=5mm*20mm.

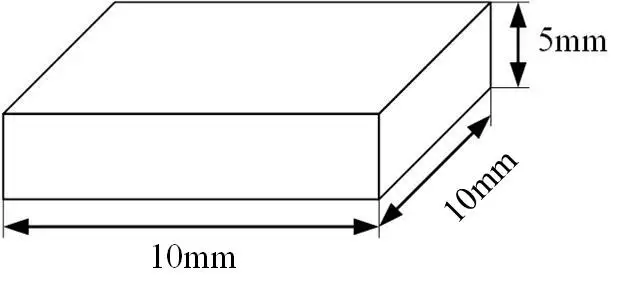
2. 确定需要导出磁场的区域为磁铁正上方的长方体区域,区域尺寸为10mm*10mm*5mm.

二、导入磁场数据文件的设置
1.使用Excel打开文件,选择分隔符号/下一步/空格(取消Tab键)/完成.

2. 打开文件后,将数字格式设置为数值(其他格式也可以,能显示完整数字即可).

三、Fluent中的设置
1. Fluent中建立模型的坐标系要与Maxwell中的坐标系一致,在Fluent控制台中依次输入define/models/addon-module/1,激活MHD模块(在进行MHD设置之前,需要初始化Fluent求解器).
2. 在MHD模块中,点击Initialize MHD,初始化MHD模块.

3. 点击External B0/Improt/Browse,选择编写的磁场数据文件(txt、mag均可).

4. 选择Conducting/DC Field,点击Reset External Field重置磁场加载区域,点击Apply External Field,选中要加载磁场的区域,应用.

5. 再点击Solution Control,输入磁场强度系数(输入几就将原磁场强度数值扩大几倍),点击Apply B0 Scale Factor/OK.

6. 查看云图,选择User Define Memory,Magnitude of B0.

免责声明:本文系网络转载或改编,未找到原创作者,版权归原作者所有。如涉及版权,请联系删
武汉格发信息技术有限公司,格发许可优化管理系统可以帮你评估贵公司软件许可的真实需求,再低成本合规性管理软件许可,帮助贵司提高软件投资回报率,为软件采购、使用提供科学决策依据。支持的软件有: CAD,CAE,PDM,PLM,Catia,Ugnx, AutoCAD, Pro/E, Solidworks ,Hyperworks, Protel,CAXA,OpenWorks LandMark,MATLAB,Enovia,Winchill,TeamCenter,MathCAD,Ansys, Abaqus,ls-dyna, Fluent, MSC,Bentley,License,UG,ug,catia,Dassault Systèmes,AutoDesk,Altair,autocad,PTC,SolidWorks,Ansys,Siemens PLM Software,Paradigm,Mathworks,Borland,AVEVA,ESRI,hP,Solibri,Progman,Leica,Cadence,IBM,SIMULIA,Citrix,Sybase,Schlumberger,MSC Products...