大型模锻液压机活动横梁整体工作性能有限元分析
曹兴强 黄明辉 湛利华 彭伟波
摘要:利用Marc有限元软件建立活动横梁的三维有限元模型。通过分析发现横梁的刚度不足,致使中梁之间有两处开缝;强度较薄弱存在两处,分布在拉杆的圆柱孔边和穿孔缸附近的倒角处。针对中梁之间的开缝,提出两种修正方案:一是在中梁中间孔和穿孔主缸周边布置一定数量的加强筋板;二是改变中梁和垫板组间的高度,调整中梁的垫板组之间的相对刚度。分析结果表明,两种方案对中梁的刚度都有不同的改善作用,布置加强筋后,中梁中心最大位移减小24.2%,相对挠度减小30.7%,开缝距离最大减小54.5%;垫板组的高度增加30.7%,中梁中心最大位移减小33.4%,相对挠度减小50.5%,开缝距离最大减小64.9%。分析结果对于大型压机设计具有参考价值。
关键词:活动横梁;垫板组;强度;刚度
前言
液压机活动横梁在工作时承担模锻压力,并将其传递给液压机其他承载体,由此形成压机的封闭力体系。活动横梁作为锻模的安装面,承载后的弯曲变形和挤压变形将影响模锻精度,同时也影响压机受载状态,因此活动横梁不仅要有足够的强度,而且要具有很好的刚度。大型模锻液压机活动横梁因为既要满足主工作缸的布局要求,同时又要满足一定的工作台面要求,导致其结构庞大,无法完成整体制造,通常将其剖分成几块,通过拉杆拉紧形成整体。传统的计算方法主要是基于经验设计,将横梁简化为材料力学范畴的简支梁,然后按照材料力学的方法进行刚度、强度校核。这些方法设计的结构偏保守,无法对整个横梁的强度和刚度做出预测,设计与实际相差甚远[1,2]。有限元计算方法的出现,为结构设计提供了先进和科学的手段。程安宁将活动横梁假设成交叉梁系,使用弹塑性有限元法对活动横梁进行设计分析,取得了一定的效果[3]。秦东晨,祁建中等对Y322500B 四立柱液压机的下横梁进行结构优化设计,研究其中的一些关键理论和技术,包括下横梁的结构有限元分析、优化方法选择、敏度分析和结构重分析,得到了满意的结果[4]。
1活动横梁整体计算模型1.1几何模型的建立
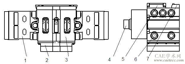
整个活动横梁是在solidworks平台下建立,通过建立各个零件的尺寸参数设计表,来建立各个零件的参数化模型,最终实现整个横梁装配体的参数化建模。根据不同的分析要求选择不同的参数,组合生成所需的几何实体。如图1所示,两片中梁由上下两组左右大拉杆拉紧,两中梁间通过楔键楔紧,侧梁由两前后大拉杆将其与中梁连接。

1侧梁2模具垫板3中梁4前后拉杆5主缸垫板Ⅰ 6 左右大拉杆7主缸垫板Ⅱ
图1活动横梁结构图
1.2有限元网格划分
Msc. Patran是有限元前后处理器,对几何复杂零件装配体网格划分十分方便。从SolidWork中以acis格式输出活动横梁的几何模型,读入patran中,使用patran中的group功能将横梁的各个零件进行分组,然后使用四面体网格划分器,根据各个零件的模型大小,生成单元数目适中的四面体网格。
1.3边界条件处理
侧梁主要是用于连接安装平衡工作缸,而非承载的主体。分析中暂不考虑纠偏力,以减小计算模型,故在计算分析中省略,在与之接触的位置增加小刚度弹簧代替纠偏力。根据结构以及工作载荷的对称性,取横梁主体的1/2分析,其对称面上施加相应的位移约束。模具垫板与模座接触部位按照相应的模压面积施加均布载荷,分析中模压面积取某航空典型锻件尺寸(2700×1650mm)模压力为800MN。在主缸垫板上球面垫作用位置,按照设计的压力施加均布载荷。拉杆的预紧力采用多点约束模型施加预紧力
[5]。材料参数如表1所示。整个活动横梁的零件按弹性接触体处理。整体计算模型如图2所示

图2整体计算模型
表1材料参数
弹性模量 泊松比 摩擦系数
210GPa 0.3 0.15
1.4整体计算结果
整体等效应力云图如图3所示,由图3可看出,整个活动横梁的整体平均应力水平不高,在中梁内侧立板处应力达到100MPa,在强度储备上有所不足。高应力区主要集中在两个位置:1)拉杆孔、出砂工艺边和倒角处,中梁的局部位置存在应力集中,应力最大的地方出现在拉杆的圆柱孔,主要有两处,一处是中梁上部介于边缘部分和中间穿孔缸的拉杆圆柱孔,该处因为主缸布置位置的影响,使得两处都要受到拉应力,最大应力为132.2MPa,是中梁危险地方之一。120MN 水压机活动横梁在拉杆圆柱孔和出砂孔处出现过裂纹[6],下横梁也在出砂孔处出现裂纹[7]。另一处是穿孔缸位置,最大应力为97.5MPa。中心穿孔缸处倒角最大应力为175MPa,造成应力高的原因应力集中。2)垫板接触面上应力高,造成的原因:第一,垫板是直接的承载部件,处于高载荷区;第二,垫板摩擦力产生的剪切应力使得板间的应力也增大。

图3等效米塞斯应力
中梁开缝应力云图如图4所示,中梁的接触面上存在两处开缝,一处是与主缸垫板接触的横梁上表面,最大开缝距离为0.198mm;另一处是穿孔缸靠中梁内侧立板处,最大开缝0.359mm。中梁开缝的主要原因是压机的主缸采用的五缸布局方案,中间的穿孔缸对整个横梁的强度和刚度有较大的削弱作用,在载荷传递过程中模座上的模压力,以很高的载荷集度通过垫板组传递到中梁,同时中梁上面的主缸布置的位置分布在中梁两端,在穿孔缸位置容易产生开缝;在中梁周围布置的其它四个主缸,因为主缸垫板对模压力的发散作用有限,也容易产生开缝。图5所示为中梁的下表面中心位移变化曲线,由图5可见,中梁的刚度储备不足,中梁半宽相对挠度为0.75mm/m。中梁刚度不足造成横梁弯曲变形过大,也是导致开缝的原因。

图4中梁开缝局部放大图
